712
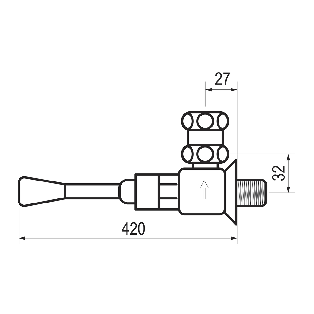
Grifo temporizado de un agua para instalación mural con cuerpo de latón cromado. Pulsación mediante palanca.



Características técnicas
Cierre automático: 10 ± 2s.
Entrada G1/2 macho.
Apertura por palanca, con rótula que puede desplazarse en todas direcciones. *Cabeza intercambiable que comprende todo el mecanismo del grifo. *Cuerpo y portamaneta en latón cromado, piezas interiores en materiales resistentes a la corrosión y a las incrustaciones calcáreas. *Caudal regulable por el instalador en función de la presión. *Peso bruto: 0,510 Kg.
Temperatura admisible de agua: los materiales que componen las piezas de los grifos pueden soportar una temperatura máxima de 70ºC.
Presión de uso recomendada: 1 5 bar.
Accionamiento mediante pulsador.
Cabeza intercambiable que comprende todo el mecanismo del grifo.
No
Referencia de producto

Ref: 31686 cromo 134,6€
Pulsación Normal









